| Plate Ref. No. | Description | Quan. per veh | Jensen Part No. |
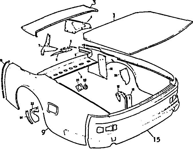
| 3 | Rear deck panel | 1 | 50139 |
| 9 | RH rear panel | 1 | 50252 |
| | LH rear panel | 1 | 50251 |
| 15 | Centre rear panel | 1 | 50018 |
| not ill | RH boot lid hinge | 1 | 50845 |
| not ill | LH boot lid hinge | 1 | 50844 |
| not ill | Boot lock striker | 1 | 72199 |
| not ill | Boot lock | 1 | 71204 |
| not ill | Boot lid seal | 1 | 50537 |
| not ill | Boot lid finisher | 1 | 50772 |
| not ill | Boot lock cable | 1 | 74518 |
| not ill | Release lever | 1 | 73447 |
| not ill | Boot lid buffer | 2 | 70561 |
|
(Select diagram above to view larger size Then Use Browser GO-BACK.)
|